24년 아이돌봄서비스 , 돌봄지원 대상, 이용안내, 지원내용, 신청방법
이번 포스팅에서는 아이돌봄서비스에 대해 자세히 알아보려고 합니다.아이돌봄서비스, 서비스 종류 및 돌봄 지원 대상, 이용안내, 지원내용, 신청방법에 대해 알려드리겠습니다.
아이돌봄서비스란?
부모의 맞벌이 등의 사유로 양육 공백이 발생한 가정의 12세 이하 아동을 대상으로 아이돌보미가 찾아가는 돌봄서비스로 제공하여 부모의 양육부담을 덜어주고 저출산 해소에 기여하는 역할을 합니다.
아이돌봄서비스 종류 및 돌봄 지원 대상
- 영아종일제서비스 : 생후 3개월 이상 ~ 36개월 이하 영아
- 시간제서비스 : 생후 3개월 이상~ 12세 이하 아동(기본형 및 종합형으로 구분)
- 질병 감영 아동서비스 : 법정 전염성 및 유행성 질병에 감염된 12세 이하의 시설 이동 아동이 해당됩니다.
- 기관연계 서비스 : 사회복지시설, 학교, 유치원 보육시설 등의 만 0세~12세 아동
아이돌봄서비스 이용안내
기본 이용시간
<공통사항>
시간 추가는 최소 30분 단위로 합니다.
- 영아 종일제 서비스는 1회 3시간 이상 신청합니다.
- 시간제 서비스 , 질병감염아동지원서비스, 기관연계서비스는 1회에 2시간 이상 신청합니다.
기본 이용요금
<서비스 종류별 시간당 기본요금>
- 영아 종일제 : 11,630원
- {시간제} 기본형 11,630원, 종합형 15,110원
- (질병감영아동) 13,950원
- (기관연계) 18,600원
<아동추가 및 야간 등 이용기준>
아동 추가 : 2명 이상부터 아동별로 각각 50%씩 감액됩니다.
아이돌봄서비스 지원 내용
지원기준은 소득기준에 따른 가구 유형별로 차등하여 정부지원을 적용합니다.
<가구유형>
- '가'~'다'형 : 양육 공백이 발생하는 가정 중에서 기준 중위소득이 150%이하인 가구 해당됩니다.
- '라'형 : 양육 공백이 발생하지 않는 가정 또는 기준 중위소득이 150%를 초과하는 가구 해당됩니다.
<가구유형 판정기준>
건강보험료 본인부담금 부과액 기준(노인장기요양보험료 제외)으로 월 평균 가구소득 금애 산정됩니다.

<지원내용>
| 구 분 | 지 원 내 용 | |
| 영아종일제 | 정부지원 시간 : 월 80시간~ 200시간 이내 | |
| 시간제서비스 | 정부지원 시간 : 연 960시간이내 | |
| 질병감영아동질병서비스 | A 형('가', '나'), B형('가') : 이용가정이 정부지원방법 신청합니다.( 1번 또는 2번) 1번. 정부지원시간 차감 적용 /2번 정버지원시간 차감 미적용 A형{'다', '라'), B형('나', '다', '라') 정부가 기본요금 50%지원합니다. |
|
| 중증장애 부모의 자녀 대상 정부지원시간 특례 |
부 또는 모가 '장애의 정도가 심한 장애인'인 경우, 가구유형이 '가', '나', '다'형에 해당하는 경우 시간제 돌봄 정부지원시간 한도룰 연 1,080시간으로 확대합니다. | |
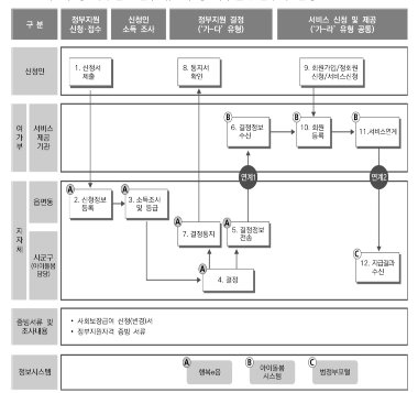
아이돌봄서비스 신청방법
아이돌봄서비스 신청
1. 아이돌봄서비스 본인부담금 납부를 위해 신청자 명의의 국민행복카드가 필요하므로 국민행복카드 신청을 먼저하여야 합니다.
| 카드발급 문의처(발급은행 및 카드사 콜센터) BC카드 1899-4651, 삼성카드 1566-3336, 롯데카드 1899-4282, KB국민카드 1599-7900, 신한카드 1544-8868 |
2. 아이돌봄 홈페이지 회원가입 및 서비스 신청
1) '가'~'다'형
- 시군구청으로부터 정부지원 결정 통보를 받은 신청자는 홈페이지에 회원 가입 및 희망 서비스를 신청합니다.
- 홈페이지 가입자 정보, 행복e음 등록자 신청자 정보, 국민행복카드 명의정보 모두 일치해야 정상적으로 아이돌봄서비스 이용이 가능합니다.
2) '라'형
- 신청자는 정부지원 결정 절차없이 자로 홈페이지에서 회원 가입 및 희망 서비스 신청 가능합니다.
- 홈페이지 정보는 국민행복카드 명의자 정보와 동일해야 합니다.
* '가'~'다'형은 1번부터, '라'형은 가구는 9번 부터 진행됩니다.

아이돌봄 서비스에 대해 자세히 알아보았는데요. 도움이 많이 되셨나요?
영아 종일제, 시간제, 질병감염아동, 기관연계등을 잘 활용하셔서 긴급할때 아이돌봄 서비스를 잘 활용하시기 바랍니다.
<함께 보면 도움되는 글>
24년 아이돌봄 소득 재판정, 신청대상, 신청기간
24년 아이돌봄 소득 재판정, 신청대상, 신청기간, 신청방법
정부 지원 자격 대상자인 아이돌봄 지원 이용자분들은 반드시 신청 기간에 재판정을 신청해야 24년 아이돌봄 지원을 받을수 있습니다. 또한 아동 판정 유형 변경시 서비스 제공기관으로 통보해
love1004forever.com
XXX Sex - Free Porn Videos at XXX.com
5* 7M+ Movies Ad Free
www.xxx.com
서울형 아이 돌봄비 지원대상, 지원기준, 신청방법, 유의사항
서울형 아이 돌봄비 지원대상, 지원기준, 신청방법, 유의사항
'서울형 아이돌봄비'란 최근 맞벌이부부가 많아지면서 조부모 돌봄의 가치를 인정하면서 지원 사업이 마련되었는데요. 알고 계셨나요? '서울형 아이돌봄비' 사업은 작년 9월 첫선을 보인 이후 23
love1004forever.com
2024년 다자녀가구 및 청소년(한)부모 아이 돌봄 서비스 지원 확대내용
2024년 다자녀가구 및 청소년(한)부모 아이 돌봄 서비스 지원 확대내용
아이 돌봄 서비스 이용 가구에 대한 정부 지원이 확대되면서 정부가 지원하는 아이돌봄 서비스 지원가구가 8.5만에서 11만가구로 이용자가 많아지고 있습니다. 맞벌이등으로 아이들을 맡길 곳이
love1004forever.com
'건강정보통' 카테고리의 다른 글
| 65세이상 무료 폐렴구균 예방접종 대상, 접종내용, 준비물, 접종 병원, 주의사항 (0) | 2024.01.19 |
|---|---|
| 탕후루, 탕후루 만드는 방법, 탕후루 몸에 안 좋은 5가지 이유 (0) | 2024.01.18 |
| 갱년기 엄마와 사춘기 자녀와의 대화법 (2) | 2024.01.18 |
| 대장내시경 검사 후 주의사항 (1) | 2024.01.18 |
| 산모, 신생아 건강관리 지원대상, 선정기준, 서비스내용, 신청방법 (0) | 2024.01.17 |
댓글